
Esoteric在2015年所改款推出的K-01X與K-03X是除了頂級旗艦Grandioso之外最高等級的SACD/CD唱盤,如今原廠進行了一次大改款,將其更新為K-01XD與K -03XD,並搭載兩項重要全新規格,與以往的款式有了一次幅度較大的改變,預計在今年3月後全球供貨。
兩項重點新規格
這次更新所使用的新規格為VRDS-ATLAS全新重量級CD轉盤機械結構與Master Sound Descrete DAC全新數位類比轉換電路。在去年這兩項新規格已應用在Grandioso頂級旗艦機種中,如今也將此兩項新技術規格下放至K-01XD與K-03XD當中。
Esotreric所研發的歷代VRDS轉盤結構已有超過30年經驗,最新的VRDS-ATLAS將能提供完美與巔峰的音質。VRDS-ATLAS針對每個型號特別製作,保持如同Grandioso P1X和K1X的品質表現。
VRDS全稱為無振動剛性轉盤系統(Vibration-Free Rigid Disc-Clamping System),將CD唱片牢固地抓取在相同尺寸的轉盤上,從而消除旋轉時的振動與外部機械振動干擾。轉盤系統還能糾正CD唱片任何潛在的曲翹,顯著提高雷射讀取頭面對CD唱片凹坑的讀取精度,同時將伺服運作所需的電流控制在最小。這些都能大幅減少讀取錯誤的發生,實現驚人的聲音品質。

Master Sound Descrete DAC則是Esoteric自行開發的分砌式數位類比電路,同樣也是由Grandioso D1X調整而來,D1X是單聲道箱體的獨立DAC,K-01XD與K-03XD則是功能更多的唱盤,因此在電路面積與設計安排上略做簡化調整,但都是原廠自行開發的電路。
原廠為兩個獨立聲道的數位類比電路板精心挑選的配對元件,每聲道共計32個元件,捨棄使用現成dac晶片,改采時鐘驅動、邏輯電路、電容、電阻等多元件搭配FPGA組成完整電路。

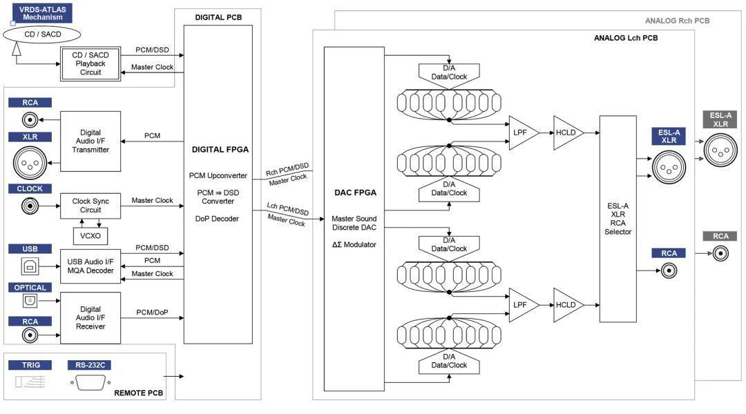
K-01XD電路路徑圖

支持MQA CD讀取與檔案
K-01XD與K-03XD能夠透過USB輸入最高PCM 384kHz/32bit、DSD 512與MQA格式的音樂檔案,也能夠讀取最新MQA CD。亦能透過內部選單先進行D/D轉換,將PCM提升為2、4、8、16倍取樣率升頻檔案(最高768kHz)或是將PCM轉為DSD格式。
